Ferrari pubblica brevetto che potrebbe rivoluzionare il launch control
Ferrari ha brevettato una maniglia montata sul tetto per gestire il launch control
Quasi tutte le auto sportive e le supercar moderne sono dotate di una qualche forma di launch control, il sistema che consente di ottimizzare partenza e accelerazione massima. In auto come la Porsche 911, il software di gestione della guida regola potenza, coppia e trazione per garantire il tempo di avvio più rapido possibile. Il problema è che attivare il launch control può risultare complesso. Spesso occorre premere pulsanti poco utilizzati o navigare tra i menu touchscreen, un processo che può distrarre il conducente. Ferrari sembra voler risolvere questo problema con un’idea innovativa.
Ferrari ha brevettato una maniglia montata sul tetto per gestire il launch control
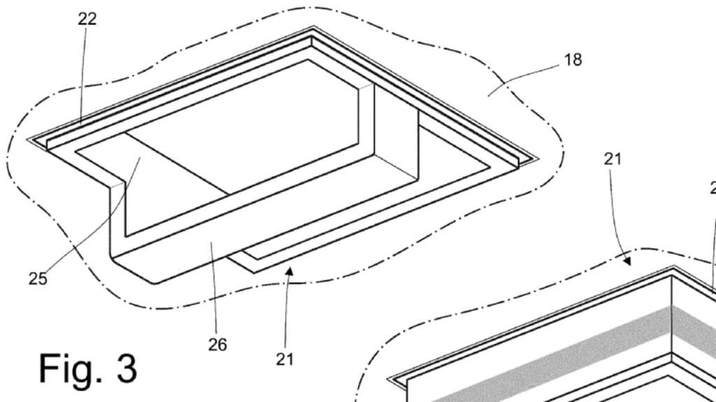
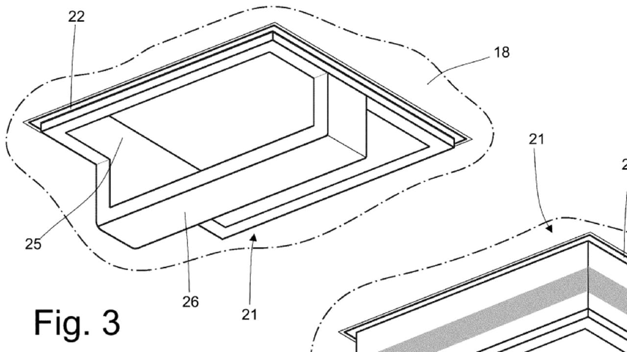
Secondo quanto riportato da CarBuzz, Ferrari ha brevettato una maniglia montata sul tetto per gestire il launch control. Il conducente deve tenere premuto il freno e abbassare la maniglia; un anello luminoso sulla stessa leva, l’illuminazione ambientale dell’abitacolo e un messaggio sul touchscreen confermano l’attivazione. Così, il pilota può monitorare il sistema con la visione periferica senza distogliere lo sguardo dalla strada. Una volta rilasciato il freno e premuto l’acceleratore, la leva torna automaticamente nella posizione di riposo. Il sistema è stato progettato per garantire sicurezza anche in caso di incidente.
Il vantaggio principale di questa soluzione è una maggiore rapidità e concentrazione del conducente, con un’installazione più semplice ed economica rispetto ai sistemi tradizionali. Ferrari non si ferma qui: il marchio ha depositato brevetti per motori con pistoni oblunghi, software di frenata automatica, volanti da corsa per auto stradali e tecnologie per i futuri veicoli elettrici, inclusi sistemi di trazione anteriore e cambi simulati con rumori artificiali. Ovviamente non è certo che il brevetto in futuro troverà spazio nei modelli di produzione ma comunque si tratta di certo di una soluzione molto interessante. Questa innovazione infatti mostra come Ferrari continui a coniugare tradizione sportiva e tecnologia all’avanguardia, mantenendo il Cavallino Rampante protagonista nelle supercar di domani.
Seguici qui
