Ford lavora sulla ricarica senza mani per veicoli elettrici ed ibridi plug-in
Il brevetto per questa tecnologia è stato depositato ad agosto 2020

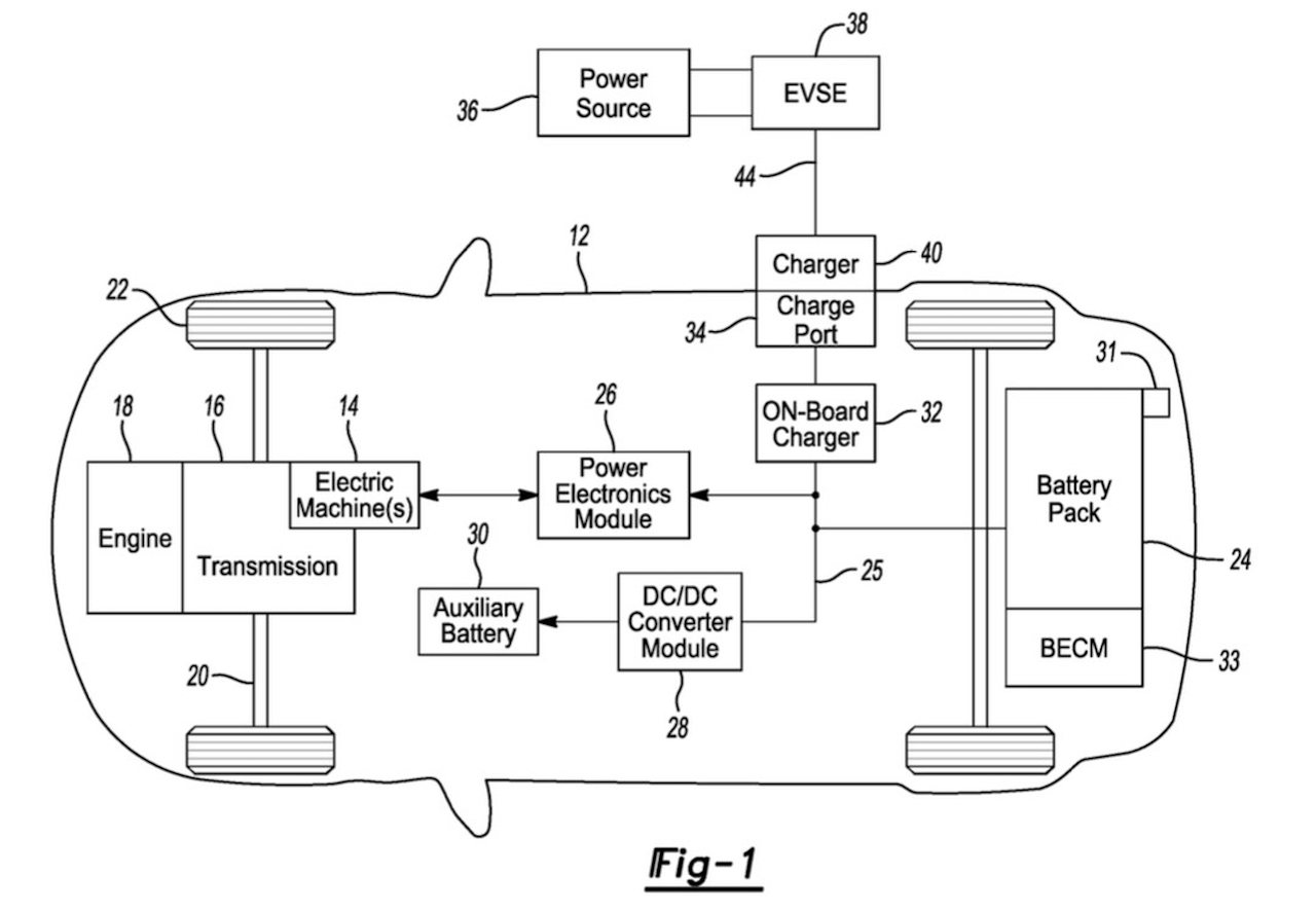
Un brevetto depositato da Ford ad agosto 2020, ma emerso solo nelle scorse ore, rivela una nuova tecnologia che potrebbe rendere la ricarica di un veicolo elettrificato molto semplice. Il brevetto in questione è stato pubblicato il 3 marzo dallo United States Patent and Trademark Office (USPTO) e sembra riguardare sia le auto ibride plug-in che completamente elettriche.
A differenza dei caricatori wireless (una tecnologia già in fase di sviluppo), il brevetto Ford mostra un dispositivo che userebbe ancora la porta di ricarica e il caricatore tradizionali. Tuttavia, il sistema prevede il collegamento del cavo del caricatore alla porta di ricarica del PHEV o dell’EV in modo automatico, quindi senza l’intervento di una persona.
Il processo di ricarica verrebbe reso molto più veloce
Purtroppo, le informazioni contenute nel brevetto non rivelano granché, ma sicuramente sarebbe un sistema che renderebbe la ricarica molto più agevole per un possessore di un’auto elettrica o ibrida plug-in.
Ad ogni modo, le case automobilistiche e i fornitori di elettricità stanno lavorando a nuove soluzioni per ottimizzare il processo di ricarica in modo da attirare più persone possibili.
Seguici qui


