Mazda a lavoro su un’auto ibrida con motore rotativo
Potrebbe essere il successore della RX-8 o della RX-7
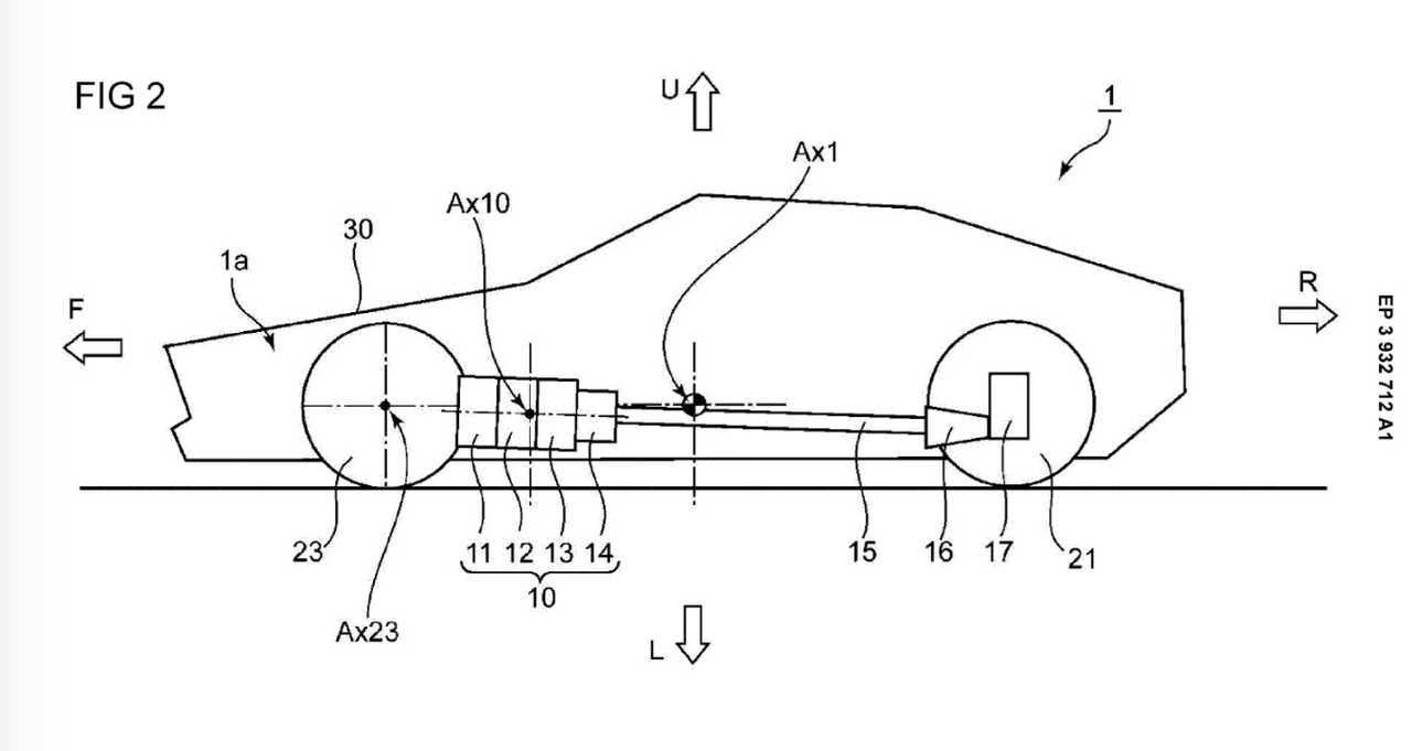
Un brevetto depositato in Europa da Mazda suggerisce che potrebbe riportare in vita il motore rotativo, forse come parte di un gruppo propulsore ibrido destinato a un veicolo a trazione posteriore.
Il documento descrive un’unità motrice per veicoli ibridi progettata per essere posizionata vicino al centro della vettura per assicurare una distribuzione ottimale del peso. Inoltre, è presente un sistema di raffreddamento destinato sia al motore elettrico che a quello endotermico.
Tuttavia, il brevetto si riferisce particolarmente a un motore rotativo, preferibile a causa delle sue dimensioni compatte. I disegni depositati assieme al brevetto mostrano un veicolo a trazione posteriore e una versione con propulsori elettrici disposti anteriormente. Lavorando in sincronia con il motore rotativo, il veicolo in questione avrebbe la trazione integrale.
Il brevetto mostra varie versioni della vettura misteriosa
Il documento prosegue descrivendo anche altre versioni della stessa vettura con motore posteriore e trazione posteriore, motore anteriore con trazione anteriore e persino una configurazione a motore centrale.
Per il momento, purtroppo, non sappiamo se questo progetto porterà alla nascita di una Mazda di produzione con gruppo propulsore ibrido costituito da un motore rotativo. Da quando la RX-8 è uscita dal mercato, si è parlato diverse volte dell’arrivo di una nuova sportiva con questo tipo di powertrain.
Non ci resta a questo punto che attendere le prossime settimane per vedere se emergeranno ulteriori informazioni in merito, soprattutto ufficiali.
Seguici qui


















![Hyundai Veloster N Hybrid: avvistata la versione ibrida plug-in [FOTO SPIA]](https://www.motorionline.com/wp-content/uploads/2022/07/Hyundai-Veloster-N-Hybrid-prototipo-foto-spia-2-1024x682.jpg)
![Hyundai Veloster N Hybrid: avvistata la versione ibrida plug-in [FOTO SPIA]](https://www.motorionline.com/wp-content/uploads/2022/07/Hyundai-Veloster-N-Hybrid-prototipo-foto-spia-2-300x200.jpg)
