Porsche: brevetto per un airbag nel montante A
Garantirebbe molta più sicurezza in caso di incidente

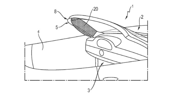
Dopo la registrazione di qualche giorno fa del brevetto riguardante un inedito diffusore posteriore attivo, Porsche ha provveduto a brevettare anche un originale airbag frontale inserito nel montante A del parabrezza. L’immagine che vedete (photo credit: Dr. Ing. h.c. F. Porsche Aktiengesellschaf) ritrae per l’appunto il disegno specifico con cui il costruttore di Zuffenhausen ha provveduto a registrare il brevetto in oggetto e che mostra l’abitacolo semplificato di un modello Porsche dotato dell’inedito airbag frontale.
L’airbag aggiuntivo, come si può vedere, sarebbe stato inserito all’interno del montante A del parabrezza di una vettura a cielo aperto e si estenderebbe per tutta la lunghezza del montante in esame. Secondo le prime indiscrezioni, l’airbag inserito nel montante A provvederebbe a rendere più sicuro l’abitacolo in caso di incidente. Difatti, in tal caso, normalmente le persone coinvolte tendono ad essere spinte in avanti verso il parabrezza e verso i due montanti anteriori: per questo motivo Porsche ha pensato bene di offrire una protezione in più proprio in questi punti nevralgici dei propri modelli.
Tale soluzione potrebbe essere inserita dapprima sulle vetture a cielo aperto e successivamente anche sulle vetture a tetto chiuso. Il brevetto in oggetto, stando a quanto riportato dall’ufficio brevetti degli Stati Uniti, è stato depositato da Porsche in data 19 ottobre 2016, ma è stato rivelato dallo stesso United States Patent and Trademark Office soltanto in data 27 Aprile 2017. Probabilmente Porsche potrebbe decidere di dotare entro breve le sue vetture open air di questo inedito airbag frontale annegato nel montante A.
Seguici qui
