Ferrari deposita un brevetto che potrebbe dare ai suoi veicoli elettrici una “vera” nota di scarico
Ferrari entrerà inevitabilmente nel mercato dei veicoli elettrici e pensa già al suono da dare alle sue super car

Anche Ferrari in futuro inevitabilmente sarà costretta a cambiare e a lanciare sul mercato super car completamente elettriche. Questo ovviamente pone dei problemi a cui gli ingegneri e i tecnici della casa automobilistica del cavallino rampante lavorano già da tempo nonostante non sia ancora chiaro quando effettivamente vedremo la prima super car a zero emissioni dello storico produttore di Maranello.
Ferrari brevetta tecnologia per una vera nota di scarico per le sue auto elettriche del futuro
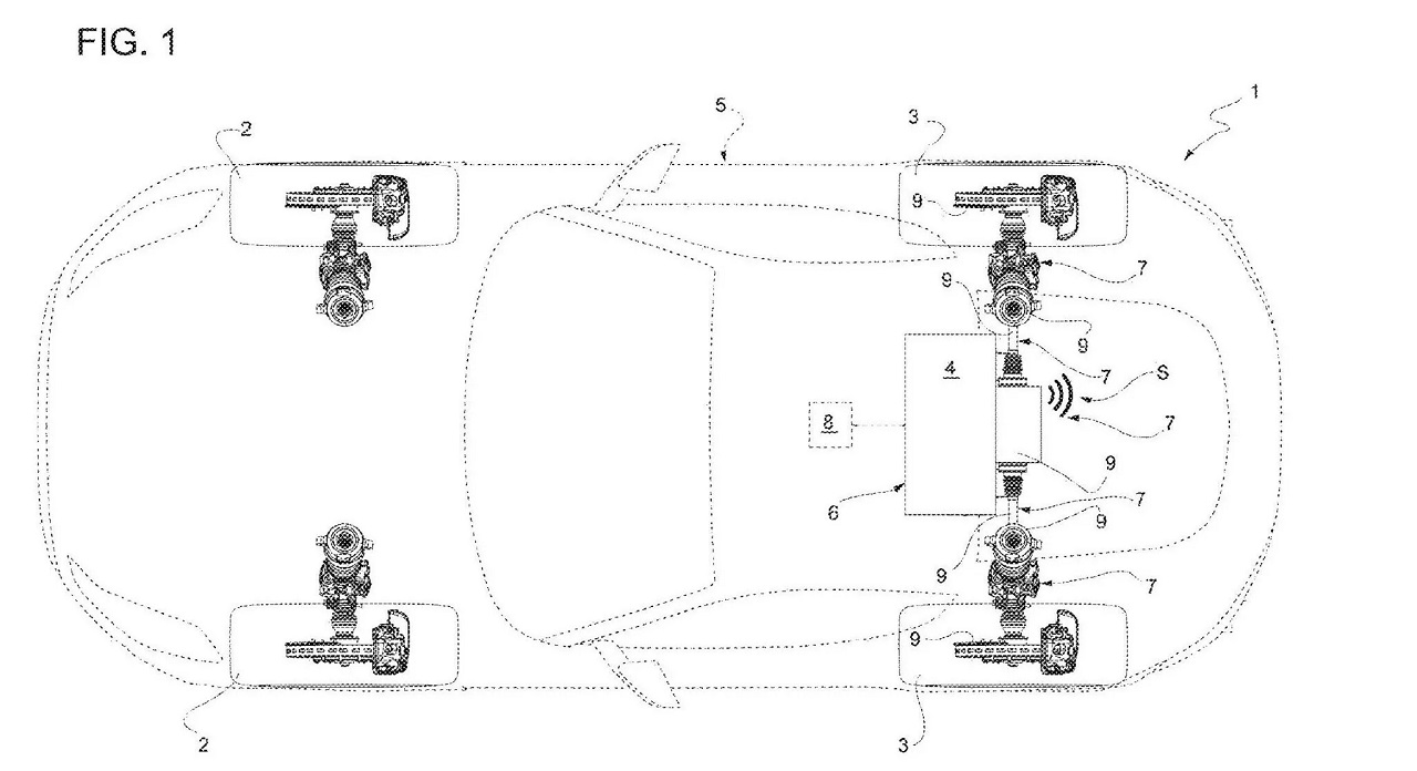
A proposito di ciò, nei giorni scorsi il sito CarBuzz ha scoperto un brevetto che la Ferrari ha depositato presso lo US Patent and Trademark Office (USPTO) in cui gli ingegneri del cavallino rampante hanno brevettato una nuova tecnologia attraverso la quale la casa italiana vuole regalare alle sue future auto elettriche un “dispositivo di riproduzione del suono” che sembra essere un singolo altoparlante vicino all’asse posteriore.
Il suono che riproduce potrebbe provenire da un componente del motore elettrico o qualcos’altro. Indipendentemente da ciò, l’obiettivo sembra essere quello di associare ciò che sta accadendo fisicamente nella trasmissione al suono stesso.
Questo allo scopo di dare a chi si mette alla guida di una delle future Ferrari elettriche sensazioni simili a quelle di chi guida una vettura con motore termico. Per ora, la tecnologia è sperimentale ma l’immagine tre nei documenti sembra indicare che la Ferrari stia già ricevendo suoni diversi in base alla velocità del motore. Si tratta in pratica di una tecnologia simile a quelle brevettata da Dodge qualche tempo fa per lo stesso motivo e cioè dare un suono reale e gradevole alle future muscle car elettriche.
Seguici qui

